Dalam sistem permesinan, terdapat banyak komponen kecil yang seringkali luput dari perhatian, namun memiliki peran yang sangat penting dalam menjaga kestabilan dan keamanan sistem kerja mesin. Salah satu komponen tersebut adalah snap ring.
Meskipun ukurannya relatif kecil dibandingkan bearing, shaft, atau gear, snap ring memiliki fungsi vital sebagai pengunci agar komponen tidak bergeser atau terlepas dari posisinya. Tanpa snap ring, sistem rotasi pada mesin berisiko mengalami gangguan serius akibat pergeseran komponen.
Artikel ini akan membahas secara lengkap tentang snap ring, mulai dari pengertian, fungsi, jenis, perbedaan tipe internal dan external, cara kerja, hingga tips memilih snap ring yang tepat untuk kebutuhan industri.
Apa itu Snap Ring?
Snap ring adalah komponen mekanis berbentuk cincin logam terbuka yang dirancang untuk dipasang pada alur (groove) di poros (shaft) atau di dalam lubang (housing). Fungsi utamanya adalah sebagai retainer atau pengunci aksial untuk menahan komponen agar tidak bergerak ke arah memanjang (axial movement).
Baca juga: Arti Kode Bearing dan Cara Membacanya Secara Lengkap
Snap ring juga dikenal dengan beberapa istilah lain seperti:
- Circlip
- Retaining ring
- C-clip
- Pengunci bearing
Komponen ini biasanya terbuat dari baja karbon atau baja pegas (spring steel) agar memiliki sifat elastis namun tetap kuat menahan beban.
Fungsi Snap Ring dalam Sistem Mesin
Fungsi snap ring tidak hanya sekedar sebagai pengunci biasa. Dalam sistem mekanik, perannya sangat strategis untuk menjaga stabilitas kerja mesin.
Berikut fungsi utama snap ring:
1. Mengunci Bearing pada Housing atau Shaft
Snap ring berfungsi menahan bearing agar tetap berada di dudukannya, baik di dalam housing maupun pada poros. Tanpa pengunci ini, bearing dapat bergeser akibat getaran atau tekanan kerja.
2. Mencegah Pergeseran Aksial
Dalam sistem rotasi, komponen sering mengalami tekanan ke arah memanjang. Snap ring berfungsi sebagai stopper agar komponen tidak bergerak ke kanan atau ke kiri.
3. Menjaga Presisi Sistem Rotasi
Pergerakan sekecil apa pun pada bearing atau gear dapat mengganggu keseimbangan sistem. Snap ring membantu menjaga posisi tetap presisi.
4. Mengurangi Resiko Kerusakan Mesin
Komponen yang bergeser dapat menyebabkan aus tidak merata, gesekan berlebihan, bahkan kerusakan permanen. Snap ring mencegah risiko tersebut.
5. Menunjang Keamanan Operasional
Pada mesin industri, stabilitas komponen sangat penting untuk keselamatan kerja. Snap ring memastikan komponen tetap terkunci dengan aman.
Jenis-Jenis Snap Ring Berdasarkan Posisi Pemasangan
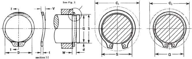
Secara umum, snap ring terbagi menjadi dua jenis utama berdasarkan posisi dan cara pemasangannya, yaitu snap ring internal dan snap ring external.
1. Snap Ring Internal (Snap Ring In / Tipe Hole)
Snap ring internal dipasang pada alur bagian dalam sebuah lubang atau housing. Jenis ini digunakan untuk mengunci komponen seperti bearing agar tetap berada di dalam silinder.
Karakteristik snap ring internal:
- Dipasang di dalam bore atau housing
- Mengecil saat ditekan menggunakan tang snap ring
- Mengunci dengan cara menekan keluar ke dinding alur
Snap ring tipe ini sering disebut sebagai Internal Retaining Ring.
Kode penamaan biasanya menggunakan huruf H, misalnya:
H17 → H menunjukkan tipe hole (lubang), 17 menunjukkan diameter dalam dalam satuan milimeter.
Aplikasi umum:
- Mengunci bearing dalam housing
- Gearbox
- Motor listrik
- Sistem transmisi
2. Snap Ring External (Snap Ring Out / Tipe Shaft)
Snap ring external dipasang pada alur bagian luar poros (shaft). Jenis ini digunakan untuk menahan komponen agar tidak bergeser dari poros.
Karakteristik snap ring external:
- Dipasang pada shaft
- Melebar saat ditekan menggunakan tang
- Mengunci dengan cara menjepit alur poros
Snap ring tipe ini dikenal sebagai External Retaining Ring.
Kode penamaan biasanya menggunakan huruf S, misalnya:
S17 → S menunjukkan tipe shaft, 17 menunjukkan diameter poros dalam milimeter.
Aplikasi umum:
- Pengunci bearing pada poros
- Poros engkol
- Gear dan pulley
- Sistem transmisi otomotif
Perbedaan Snap Ring Internal dan External
Perbedaan keduanya terletak pada posisi pemasangan dan arah kerja elastisitasnya.
Snap ring internal dipasang di dalam lubang dan bekerja dengan cara mengecil saat pemasangan. Sedangkan snap ring external dipasang pada poros dan bekerja dengan cara melebar saat dipasang.
Selain itu, bentuk ujung tang (lug holes) juga berbeda karena menyesuaikan arah tekanan saat pemasangan.
Meskipun berbeda posisi, keduanya memiliki fungsi yang sama yaitu sebagai pengunci aksial.
Cara Kerja Snap Ring
Snap ring bekerja berdasarkan prinsip elastisitas logam. Material baja pegas memungkinkan cincin mengalami deformasi sementara saat ditekan, lalu kembali ke bentuk semula setelah dilepas.
Proses pemasangan umumnya menggunakan tang khusus snap ring (snap ring pliers). Tang ini memiliki ujung kecil yang masuk ke lubang di kedua sisi snap ring.
Langkah kerja secara umum:
- Tang dipasang pada lubang snap ring
- Ring ditekan (mengecil atau melebar sesuai tipe)
- Diposisikan pada alur
- Tang dilepas
- Ring kembali ke bentuk semula dan mengunci alur
Karena bekerja berdasarkan tekanan elastis, ukuran alur dan diameter snap ring harus sangat presisi.
Material Snap Ring dan Ketahanannya
Snap ring umumnya dibuat dari:
- Baja karbon
- Baja pegas (spring steel)
- Stainless steel untuk aplikasi korosif
Material ini dipilih karena memiliki kombinasi kekuatan tarik tinggi dan fleksibilitas.
Beberapa snap ring juga dilapisi coating anti karat untuk meningkatkan daya tahan terhadap lingkungan lembab atau bahan kimia.
Aplikasi Snap Ring di Berbagai Industri
Snap ring digunakan hampir di semua bidang industri, antara lain:
- Industri Otomotif: Digunakan pada transmisi, poros engkol, suspensi, dan sistem pengereman.
- Industri Manufaktur: Mengunci bearing pada mesin produksi dan conveyor.
- Industri Pertambangan: Digunakan pada mesin berat yang membutuhkan penguncian kuat terhadap getaran tinggi.
- Industri Kelistrikan: Mengunci rotor dan komponen motor listrik.
- Industri Pertanian: Digunakan pada mesin traktor dan alat pengolahan tanah.
Karena penggunaannya luas, kualitas snap ring sangat menentukan keandalan mesin.
Risiko Jika Tidak Menggunakan Snap Ring yang Tepat
Penggunaan snap ring yang tidak sesuai spesifikasi dapat menyebabkan:
- Bearing keluar dari housing
- Komponen bergeser saat mesin beroperasi
- Getaran berlebihan
- Kerusakan poros
- Downtime produksi
Dalam sistem industri, downtime berarti kerugian finansial yang besar. Oleh karena itu, pemilihan snap ring tidak boleh sembarangan.
Cara Memilih Snap Ring yang Tepat
Agar tidak salah memilih, perhatikan beberapa hal berikut:
- Ukuran Diameter: Pastikan diameter snap ring sesuai dengan diameter alur atau shaft.
- Ketebalan Ring: Ketebalan mempengaruhi daya tahan terhadap tekanan aksial.
- Jenis Pemasangan: Tentukan apakah kebutuhan Anda tipe hole (internal) atau shaft (external).
- Material: Untuk lingkungan lembab atau korosif, pilih material stainless steel.
- Beban Kerja: Sesuaikan dengan beban dan tekanan yang akan diterima.
Jika ragu, sebaiknya konsultasikan dengan distributor atau teknisi berpengalaman.
Tips Instalasi Snap Ring Agar Tahan Lama
Pemasangan yang tidak tepat dapat mengurangi umur pakai snap ring. Berikut beberapa tips instalasi:
- Gunakan tang khusus snap ring
- Pastikan alur bersih dari kotoran
- Jangan memaksakan ukuran yang tidak sesuai
- Periksa kembali posisi setelah terpasang
- Hindari over-stretching
Perawatan berkala juga penting untuk memastikan snap ring tetap dalam kondisi baik.
Mengapa Snap Ring Berkualitas Sangat Penting?
Dalam sistem mekanik modern, presisi adalah kunci. Snap ring berkualitas memiliki toleransi ukuran yang akurat dan material yang tahan lama.
Baca juga: Release Bearing: Pengertian, Fungsi, Komponen, Cara Kerja, dan Penyebab Kerusakannya
Snap ring berkualitas rendah dapat:
- Mudah patah
- Kehilangan elastisitas
- Tidak mengunci sempurna
- Menyebabkan kegagalan sistem
Investasi pada spare part berkualitas akan jauh lebih hemat dibandingkan biaya perbaikan mesin.
Distributor Snap Ring dan Bearing Terpercaya di Jakarta
Jika Anda membutuhkan snap ring, bearing, coupling, roller chain, atau spare part industri lainnya, pastikan Anda membelinya dari distributor terpercaya.
PT Anugerah Jaya Bearing merupakan distributor yang menyediakan berbagai kebutuhan industri seperti:
- Snap Ring Internal dan External
- Bearing berbagai tipe
- Coupling
- Roller Chain
- Spare Part mesin industri
Kami menyediakan produk berkualitas dengan harga kompetitif dan siap membantu konsultasi teknis agar Anda mendapatkan produk yang sesuai dengan kebutuhan mesin Anda.
Hubungi:
Djaja Halim
Tel: (021) 624 0834 / 624 0469
SMS/WA: 0811 8118 8730 / 0813-1519-3296
Fax: (021) 624 0450
Email: anugerahjayabearing@gmail.com


Contact Sales
About The Author: Dedi Wijaya
More posts by Dedi Wijaya